Каждый, кто разводит кроликов, точно знает – без хорошей клетки не обойтись. Если покупать их – это сплошные расходы, а еще постоянный риск, что питомцы пострадают от некачественных материалов или опасных креплений. Мы предлагаем сделать клетку своими руками, ведь для кроликов не нужно ничего особенного. Рассказываем и показываем!
Виды и материалы
Имей в виду, что обойтись без клеток при разведении домашних кролей не получится. Они подвержены болезням, чувствительны к погодным переменам, не умеют вовремя останавливаться во время еды и «на вольном выпасе» превращаются в настоящих вредителей. В конце концов, это просто небезопасно для маленьких животных.
На практике клетки оказались гораздо практичнее вольеров. При выборе учитывай, для кого именно она будет – для крупных или карликовых кроликов, молодняка, самцов или самочек, декоративных пород. По размеру они могут быть одно- или двухъярусными, многоярусными, сложной формы и конфигурации.
На улицах устанавливают стационарные клетки с утеплением и навесом. В них кролики могут жить круглый год, только нужна хорошая защита от ветра и оптимальная влажность. А есть круглогодичные клетки для помещений, но в комнате должно быть хорошее освещение минимум 8-10 часов. Альтернатива – комбинированные мобильные конструкции, которые можно переставлять, в зависимости от сезона.
Для каркаса и опоры рекомендуем использовать бруски дерева, а для стен – фанеру, доски и металлические сетки. Для декоративной наружной отделки подходят деревянные или пластиковые панели. Хотя бы часть пола должна быть из сетки для удобства уборки.
Главное – не использовать чистый металл, потому что на жаре он сильно раскаляется, а зимой – перемерзает. Также не рекомендуем ДСП, дешевые сорта фанеры и другие сомнительные или искусственные материалы, которые могут быть попросту токсичны для животных.
Этапы изготовления клеток для кроликов
Для взрослых кроликов или мелких крольчат достаточно простых одно- либо двухсекционных клеток. Тебе понадобится дерево, листы фанеры, оцинкованные металлические крепежи и ветки с сеном для наполнения.
Подготовка
Используй стандартные бруски 40х40х3000 или 50х50х3000 мм и фанеру толщиной 9-12 мм. Для укрепления многоярусных конструкций подходят стальные трубы от 2 см, но нельзя, чтобы они соприкасались с животными. Сетка должна быть оцинкованная и довольно мелкая – максимум 20х20 мм, а лучше меньше. Для крепления элементов используй саморезы длиной 30-70 мм.
Каркас
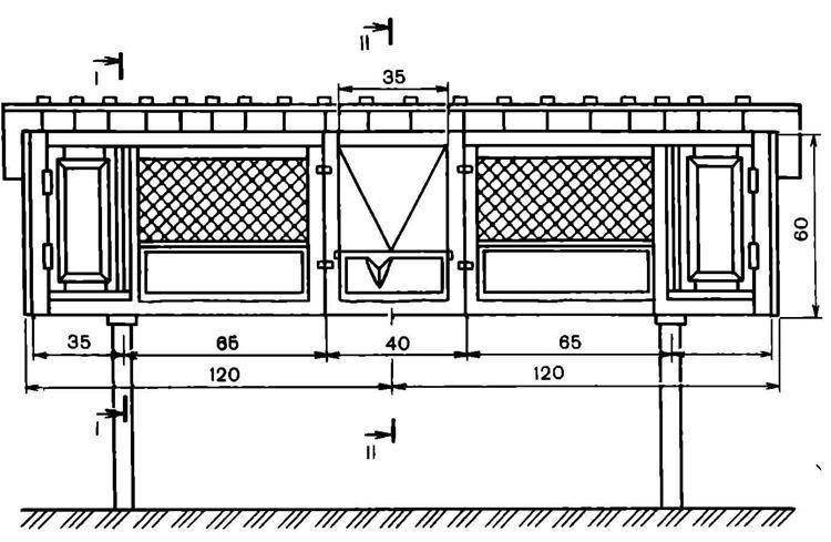
Размеры самой простой кроличьей клетки – примерно от 120х70х50 см, которых вполне достаточно, чтобы животные чувствовали себя комфортно. Для начала сделай каркас длиной около полутора метров и высотой – 70 см. Раздели заднюю и переднюю части клеток – по 35 и 55 см.
Внутренние секции
Обшей весь каркас фанерой и отдели внутри секцию для гнезда, куда можно будет поставить домик и маточник для крольчихи. Между секциями поставь такую же фанерную перегородку, но с проходом. Дверцы из клетки должны быть с обеих сторон, но в гнезде – сплошная на петлях, а в обычном отделении – мелкая сетка.
Пол и крыша
Сплошной пол в клетке не слишком удобен с точки зрения уборки, поэтому сделай его таким только в гнездовом отделении. В основной секции используй мелкую сетку или деревянные рейки с небольшими зазорами, а снизу поставь вместительный поддон. Крышу сделай из фанеры, поликарбоната или шифера, и закрепи на петлях, чтобы ее удобно было снимать.
Установка клетки
На улице клетка обязательно должна стоять на брусьях высотой хотя бы 70 см, чтобы вредители, грызуны и другие животные не могли добраться до кроликов. Отшлифуй все неровности и потертости, чтобы кролики не могли травмироваться. Держи в одной клетке кролей примерно одного возраста, размера и похожих характеров.
Клетки для кроликов своими руками - фото и идеи
Кроличьи клетки на самом деле куда более разнообразные, и кроме универсальных есть специализированные – для окрола, молодняка или промышленных нужд. Делимся еще несколькими идеями, которые пригодятся тебе, и которые тоже можно сделать своими руками!
Одноярусные клетки
Это самая простая прямоугольная клетка на брусьях-опорах для безопасности и удобства обслуживания. Крыша обычно тоже самая простая односкатная – подойдут остатки шифера. Вместо него можно использовать любое рулонное покрытие, но скат нужен обязательно для стока воды. Снизу установи поддон со сточным желобом для уборки отходов.
Многоярусные клетки
На самом деле количество ярусов в клетках можно быть совершенно любым – и такие клетки собираются одна на другой по типу конструктора. Их еще называют «шедами», а между блоками нужно обустроить перегородки и сточные сливы. Это существенно экономит место и упрощает уборку и уход, потому что все животные находятся в одном месте.
Для опоры под тяжелую конструкцию вместо брусьев сложи друг на друга кирпичи. Уличные шеды обязательно нужно теплоизолировать, чтобы кролики не мерзли и не перегревались.
Клетки для молодняка
Для мелких крольчат до трех месяцев достаточно самой простой одноярусной клетки из расчета около 0,15 квадратных метров на одного крольчонка. Всего их может быть от восьми до двадцати штук. Оптимальная высота такой клетки – от 35-40 см.
Мелких кроликов намного удобнее держать вместе, и можно даже сселить сразу несколько одновозрастных потомств – до двадцати штук. Обязательно нужно утепление и защита от ветра, потому что малыши могут быстрее заболеть. Детеныши кролей приманивают всех хищников, включая домашних кошек, так что убедись, что клетка в безопасности.
Клетки для карликовых кроликов
Для мелких декоративных пород достаточно клеток поменьше. Пускай задняя стенка будет на 15 см ниже боковых – установишь ее так, чтобы снизу был просвет. На дно клетки прикрепи несколько широких реек, а сверху настели мелкую сетку. Из той же сетки сделай откидную крышу и дверцу.
Клетки для крупных кроликов
Для калифорнийской породы или кроликов-великанов нужны клетки побольше, ведь они вырастают до 5-7,5 кг. В основном это кроли, которые разводят для мяса. В обычных клетках им слишком тесно, да и держать великанов с обычными мелкими породами нельзя.
Для взрослой особи нужно от 0,5 квадратных метров, а для одного выводка крольчат – около 1,4 квадратных метров на всех. Обычно в потомстве до восьми детенышей – и в этом случае не рекомендуем объединять несколько семейств. Для укрепления многоярусных конструкций используй металлические уголки и листовой металл.
Клетки для окрола
Это специализированные клетки для беременных крольчих, которым нужна тишина и покой. Одноярусные клетки для окрола прячут в сарай к стене подальше от окон. Обязательно должна быть секция для маточника и отопление.
Самки в это время совершенно неприхотливы к условиям, но требуют тишины и покоя, потому что в естественной среде прячутся в норы, в которых тепло и темно. Не используй для обогрева электрические обогреватели или радиаторы – повесь обычную лампу или проложи специальные кабеля.
Клетки Михайлова
Это целая мини-ферма для массового разведения кроликов при минимальных усилиях с твоей стороны. В таких клетках предполагаются автоматизированные системы кормления, очистки и подогрева. В домашних условиях такие фермы делают редко, потому что они ориентированы на промышленное использование.
Клетки для спаривания
Разнополых кроликов нужно держать отдельно, но для спаривания их сводят вместе. Для удобства клетки для взрослых кроликов монтируют в одну многоярусную конструкцию и устанавливают между ними съемную перегородку. Так животных не придется постоянно переселять туда-сюда.
Клетки Золотухина
Это разработка известного кроликовода для домашних задач, в отличие от ориентированных на промышленные масштабы клеток Михайлова. В клетках сплошной пол из шифера или фанеры без поддонов. Только сзади есть узкая вставка из сетки шириной до 20 см, и по многолетним исследованиям именно туда животные сами научатся сбрасывать свои отходы.
Классические клетки, которые использует сам Золотухин – это трехъярусные конструкции из шести блоков. Они устанавливаются друг на друга террасами с небольшим отступом на ширину сетки в полу. Задние стенки первых двух ярусов монтируют под наклоном, чтобы отходы сверху стекали ко дну, а не на нижний ярус.
Отдельной секции под маточник не предусмотрено – крольчиха обустроит себе дом самостоятельно. На зиму можно сделать небольшой мобильный домик в виде ящика из фанеры 30х30х16 см. Кормушки установлены на дверцах, чтобы их было удобнее чистить и наполнять.



